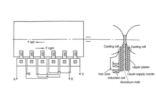
Analysis of electromagnetic casting and capacitor system

Currently, in the casting and rolling production of aluminum and aluminum alloys, in order to obtain uniform and fine equiaxed crystal structure, the most effective way is to use aluminum titanium boron wire for online modification. However, this method has very strict technical requirements for aluminum titanium boron wire, and at the same time, hard phase [...]