The Process for Capacitor
Visit xuansn capacitor factory
Latest Industry Knowledges
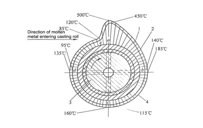
Effect of uneven deformation of metal on capacitor performance
Plastic deformation of metal is uneven deformation. This unevenness will have a significant impact on the structural integrity of the [...]
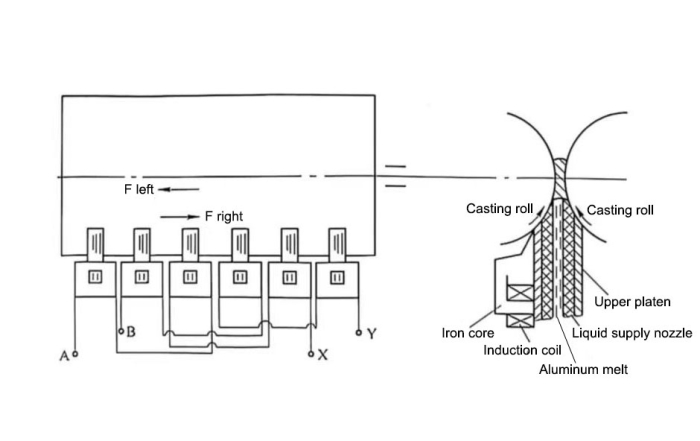
Stress and Strain in Metals Used in Capacitors Production
Modern metal rolling is performed on rolling mills equipped with automatic thickness and shape control systems (see Figure 1). Flat [...]
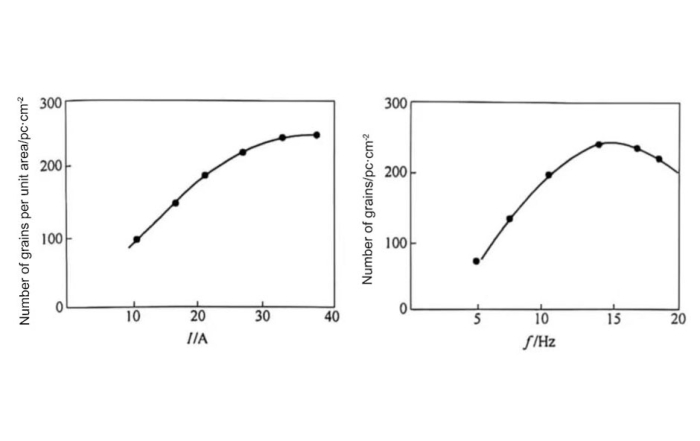
Analysis of Casting Roller Sleeves in the Capacitor Process
In strip casting and rolling production, equipment failures often directly impact product quality and production efficiency, a critical issue for [...]
Xuansn Partner
.jpg)

.jpg)

.jpg)

.jpg)




























