Capacitor Aluminum Alloy Casting Process Study

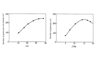
1 Electromagnetic Casting and Rolling Technology of Capacitor Aluminum Alloy The electromagnetic casting and rolling process includes electromagnetic process parameters and casting and rolling process parameters, mainly including: excitation current, magnetic field strength, magnetic field oscillation frequency, magnetic field oscillation form, magnetic field switching frequency, which is suitable for the forming and organization control of capacitor [...]