Skip to content
  • Home
  • About Us
    • Company Profile
    • Company Culture
    • Company Style
    • Capacitor Manufacturing Process
    • Production Equipments
  • Products
    • Radial Lead Capacitor
      • Automotive Capacitor
      • Long Life Capacitor
      • High Frequency Capacitor
      • Standard Capacitor
      • Non polarized capacitor
      • Anti-Lightning Capacitor
    • SMD Capacitor
      • Long Life SMD Capacitor
      • 125℃ SMD Capacitor
      • High Frequency SMD Capacitor
      • Wide Temperature Capacitor
      • General SMD Capacitor
    • Screw Capacitor
      • Capacitor series XSW 85℃ 2000H
      • Screw Terminal Capacitor XLW Series
      • Long Life Screw Capacitor
    • Snap In Capacitor
      • Standard Snap In Capacitor
      • XTN | 105℃ 2000H | Standard capacitor
      • XSN (85℃ 2000H Standard Electrolytic Capacitor)
    • Super Capacitor
      • 2.3v Super Capacitor
      • 2.7v Super Capacitor
      • 5.5v Super Capacitor
      • Lithium Ion Capacitor
    • Solid Capacitor
      • Standard solid electrolytic
      • 135℃ Solid Capacitor
      • Long Life Solid Capacitor
      • Low ESR Solid Capacitor
      • SMD Solid capacitor
  • Capacitors
    • Ceramic Capacitors
      • Multilayer ceramic capacitor
      • Feedthrough Capacitor
    • Electrolytic Capacitors
      • Low impedance
    • Safety capacitor
      • X2 capacitor
      • Y capacitor
    • Film capacitor
      • CBB61
      • Polyester capacitors
    • Power Capacitors
      • Snubber capacitors
      • DC-Link Capacitors
  • FAQ
  • Contact US
  • Download

capacitor aluminum foil-t-1

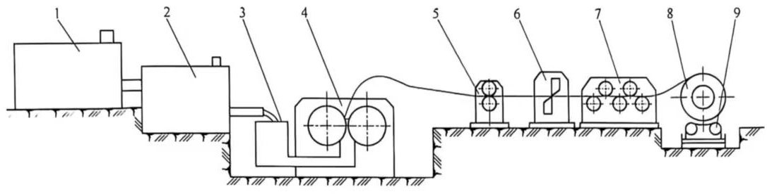
Home » Casting and rolling process of capacitor aluminum foil » capacitor aluminum foil-t-1
Previous

capacitor aluminum foil-t-1

XuanxCapacitors2025-04-08T17:00:32+00:00Comments Off on capacitor aluminum foil-t-1

Innovation Keeps Leading, Wisdom Goes Further!

FacebookTwitterLinkedInVk

About the Author: XuanxCapacitors

Product Search

Products

  • Solid capacitor 1200uf 4v Solid Capacitor 1200uf 4v radial type vendor XUANSN
  • Solid capacitor 560uf 4v Solid Capacitor 560uf 4v radial type vendor XUANSN
  • Solid capacitor 680uf 6.3v Solid Capacitor 680uf 6.3v radial type vendor XUANSN
  • Solid capacitor 220uf 6.3v Solid Capacitor 220uf 6.3v radial type vendor XUANSN
  • Solid state capacitor 680uf 2.5v Solid State Capacitor 680UF 2.5V Radial RoHS Compliant

Recent Posts

  • What Does uF Mean on a Capacitor? uF vs MFD, nF, pF & Polarity Explained
  • What Is an Electrolytic Capacitor? Types, Working Principle, Applications & Lifespan
  • Uses of Capacitors:Complete Guide to Functions, Applications & Selection
  • Bipolar Electrolytic Capacitors Explained: Structure, Principles, Applications, and Selection Tips
  • How to test capacitors? 4 practical capacitor testing methods that even beginners can learn (super detailed)

Title

About Xuansn

Our company currently mainly produces electrolytic capacitors. It is a high-tech enterprise integrating R&D, design, manufacturing, sales and service.

Contact Us

Email:[email protected]
Phone: +8618825879082
Whatsapp:+8618825879082
Website:https://www.xuanxcapacitors.com/
Skype: Coco.PSH

Adress

Add: No.9, Hongye North Road, changan town , donguan city,guangdong province, China.

Product Search

Copyright 2012 - 2024 | Xuansn Electronic by Xuansn | All Rights Reserved | Powered by Xuansn
Page load link
Go to Top