1 Preparation of gating system in capacitor foil manufacturing
The main function of the casting system is to transport the liquid metal from the static furnace to the feed nozzle. During the transportation process, the aluminum melt is further purified to improve the purity of the melt, maintain a certain and stable pressure of the melt, and ensure the smooth progress of casting and rolling. In the process of capacitor foil manufacturing, the stable operation of the casting system is crucial to the quality of the finished product. The system consists of a launder, a front box, a distributor, and additional filtering, refining, and modification mechanisms.
Launder: The launder is the channel for the aluminum melt from the static furnace to the front box. It should have good thermal insulation performance, moisture absorption resistance, and resistance to aluminum melt corrosion. If a filter needs to be installed in the launder, it is also necessary to make a transition from a single launder to a double launder and then to a single launder to facilitate the replacement of the filter. The launder length should be as short as possible while ensuring online refining and filtration.
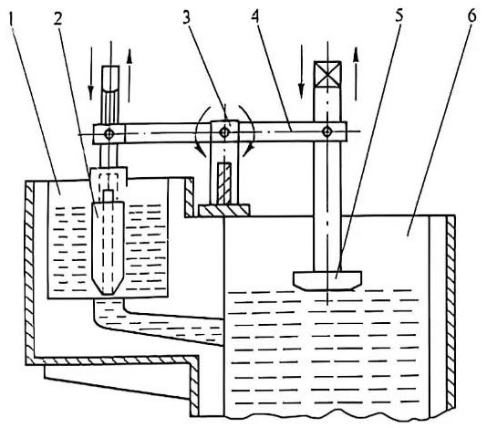
Front box and liquid level stabilizer: The front box is the tundish, which is connected to the flow channel on the top and the aluminum liquid distributor on the bottom. It can store a certain amount of aluminum melt, and ensure the constant liquid level through a floating funnel or a lever-type floating mechanism. The front box is also required to have good thermal insulation and moisture-proof properties. The floating funnel or floating block floating on the surface of the melt should have a density less than the density of the melt. The entire mechanism should be sensitive and can adjust the slight changes in the liquid level in time (see Figure 1 and Figure 2).

Figure 1 Lever-type metal liquid level height stabilizer 1-flow channel; 2-plug; 3-hinge support; 4-lever; 5-buoy; 6-front box

Figure 2 Floating metal liquid level stabilizer 1-flow channel; 2-front box; 3-buoy
Melt distributor: When the cast-rolled strip is wide, some of them are divided into two streams before the casting nozzle (first-level distribution casting nozzle) to reduce the travel of the melt in the casting nozzle and ensure the uniform temperature of the melt in the casting nozzle.
2 Preparation of casting nozzle for capacitor foil manufacturing
The casting nozzle is directly connected to the roll gap, and the aluminum melt is filled between the casting roll gap smoothly and evenly. It must ensure the balanced distribution of aluminum liquid, the balanced distribution of aluminum liquid temperature, and no additional pollution to the body. This is extremely important for the dimensional accuracy, organizational properties and surface quality of the cast and rolled plate in the capacitor foil manufacturing.
Requirements for casting nozzle materials: good thermal insulation and moisture absorption resistance; sufficient strength and rigidity for easy machining; good chemical stability, no pollution to aluminum melt; good resistance to temperature change, small linear expansion coefficient, and no deformation or cracking due to rapid temperature rise and fall.
2.1 Production of casting nozzle
According to the width and thickness of the cast strip, the size of the casting nozzle and the opening of the nozzle fan are determined. The dimensional accuracy and surface roughness must be guaranteed during processing, and obvious pits and protrusions are not allowed, especially the inner surface of the casting nozzle must be guaranteed.
2.2 Casting nozzle structure
As mentioned above, the streamline distribution of aluminum melt in the nozzle should be reasonable without dead corners. The slab width below 1m adopts a single-entry casting nozzle, and the slab width above 1m can adopt a double-entry structure (see Figure 3 and Figure 4. In recent years, in order to further improve the flow field and temperature field in the casting nozzle, the diversion arrangement in the casting nozzle has been greatly improved, with a first-level diversion, a second-level diversion and a third-level diversion structure. The first-level diversion structure is shown in Figure 5, and the third-level diversion structure is shown in Figure 6, which achieves a balanced distribution of flow field and temperature. These optimized designs are of great significance for ensuring the quality of strips in capacitor foil manufacturing.

Figure 3 Double-entry casting structure

Figure 4 Single-entry casting nozzle structure

Figure 5 First-level diversion casting nozzle

Figure 6 Three-stage diversion casting nozzle
When the thickness of the cast-rolled plate is relatively thick, due to the temperature difference between the upper and lower surfaces of the melt in the casting and rolling zone, the temperature of the upper surface is slightly higher than that of the lower surface, which will cause the center line of the crystal structure to move up, causing asymmetry of the upper and lower structures (see Figure 7). In order to ensure the symmetry of the upper and lower structures and improve the subsequent processing structure and process performance of the cast-rolled plate, the upper nozzle fan is retracted a certain distance when assembling the casting nozzle. Its size depends on the thickness of the cast-rolled plate.

Figure 7 Schematic diagram of assembling different sub-crystallization a-lips are flush; 6-upper lip is retracted a certain distance
2.3 Ear structure
The front end of the ear is appropriately inclined to the outside of the two ends of the casting nozzle, and there is a certain angle with the two ends of the casting nozzle, which is conducive to the cast-rolled plate being pulled out of the nozzle. The size of the angle varies with the requirements of casting and rolling, and is generally divided into 15°, 30°, and 45° (Figure 8). Adopt 45° ears can reduce or eliminate edge cracks in cast-rolled plates, especially pure aluminum plates, reduce the amount of trimming in subsequent cold rolling passes, and improve the yield rate: However, cast-rolled strips tend to expand to both sides, thin the edges, increase the width of the strip, and cause the strip to stagger, especially when the front box liquid level is adjusted or the front box liquid level fluctuates. The stagger is more obvious (see Figure 9). When producing alloys with a relatively large crystallization range, such as 5052, sometimes oblique cracks may occur at the edge (see Figure 10 and Figure 11). Using 15° ears can avoid the above defects, but it is easy to cause edge cracks (see Figure 12). Edge cracks will not affect the process performance, but may reduce the yield rate. Using 30° ears is between the above two. This structural selection should be optimized in combination with actual process requirements in capacitor foil manufacturing.

Figure 8 Schematic diagram of ear inclination

Figure 9 End face stagger when using 45° ears

Figure 10 Oblique cracks (long white lines) of 5052 alloy cast-rolled coils

Figure 11 Low-signal structure of cracks after corrosion

Figure 12 Edge crack condition at the end of the cast-rolled coil
2.4 Preheating of the casting nozzle
After the casting nozzle is processed and assembled, it needs to be placed in a heating furnace for preheating and insulation. Generally, the preheating temperature is about 100℃ and the insulation time is more than 4h. However, for the casting nozzle material with certain moisture absorption characteristics and the possibility of generating crystal water, it needs to be heated to 350℃ and the insulation time is more than 4h. High preheating temperature can easily cause deformation of the casting nozzle.
3 Preparation of filter box
Filter boxes come in a variety of styles, including single-chamber and double-chamber! Filter plates are available in vertical single-insert, double-insert, and multi-insert types; there are horizontal types; there are heating and heat preservation types, and there are non-heating and heat preservation types. In casting and rolling production, a double-chamber vertical plug-in filter box is generally used (as shown in Figure 13), with one chamber online and one chamber spare, which is more convenient, simple and applicable. Single-stage filtration, double-stage filtration, and three-stage filtration can be used. The filtration effect depends on the thickness of the filter material, the number of filter apertures, the size of the flow area, the number of filtration stages, and the combination of filter plates.

Figure 13 Schematic diagram of a double-chamber vertical plug-in filter box (both are double-stage filtration)
The volume of the filter box should not be too large, and the time for the melt to flow through the filter box should be controlled within 5 minutes When placing the filter, the filter and the box should be well connected, and no melt leakage should occur; for multi-stage filtration, the filter with fewer meshes (larger apertures) should be placed in front, and the filter with more meshes (smaller apertures) should be placed at the back; there should be a slight gap between the filter and the filter. Before use, it is best to heat the filter, especially in winter and rainy seasons, when the temperature is too low or the humidity is too high, and the heating should be sufficient to prevent the melt from condensing in the filter, causing partial blockage of the filter, affecting the flow rate and filtering effect.
4 Plate erection
Plate erection is a very important process in the casting and rolling of strip. The quality of plate erection and whether it is successful are directly related to the quality of the casting and rolling strip. In the plate erection operation, the following issues must be paid attention to:
(1) According to the proposed thickness of the casting and rolling slab, the known roller diameter, roller convexity and the characteristics of the casting and rolling machine, the roller gap is determined in advance, and the casting nozzle should be carefully measured and adjusted when installing the casting nozzle. After adjustment, the roller gap on both sides should be exactly the same, and no deviation is allowed.
(2) Install the casting nozzle, measure the size of the casting and rolling zone, and adjust the nozzle roller gap. The nozzle roller gap and the casting and rolling zone length on both sides should be the same. There must be a certain gap between the nozzle rollers to the hard nozzle material, and no contact is allowed. Contact will cause friction and leave longitudinal marks on the casting and rolling strip. Roller marks: If the gap between the nozzle and roller is too small, aluminum powder and lubricating residual graphite are easily accumulated, and the plate surface is prone to structural segregation. The ear blocks at both ends should be tightened firmly. After adjustment, start the casting and rolling mill forward and reverse for a few minutes to confirm the appropriate gap distance between the nozzle and roller. The above operating specifications are important for thickness control and plate surface consistency during capacitor foil manufacturing.
(3) Appropriately increase the melt temperature according to environmental conditions. Generally, the melt temperature is controlled between 730 and 750 ° C. Take the lower limit when the ambient temperature is high and the upper limit when the ambient temperature is low.
(4) Do a good job of assembling the flow trough, front box, liquid level stabilizer, and distributor. All connection points must be well connected. Be prepared for slag running before the vertical plate. After inspection, After confirmation, release the vertical plate.
(5) Before releasing the molten aluminum, the rollers should be heated to remove the attached water on the surface of the rollers to prevent the molten aluminum from exploding when the plate is upright. For the inclined casting and rolling mill, release the molten aluminum to allow the high-temperature melt to heat the flow channel, front box, distributor and rollers, increase the rotation speed of the rollers, and make the molten aluminum fall into or scrape into the waste box in the form of fragments.
(6) When the flow channel, front box and rollers are heated to the predetermined temperature, slow down the rotation speed of the rollers to the normal rolling range and wait for the plate to be discharged normally. Observe the plate discharge carefully. When the plate is discharged, the head is basically in a straight line shape and is relatively neat, then the plate and strip difference is generally qualified. Otherwise, one side comes out first and the other side comes out later, then the plate difference may exceed the standard. Then observe whether there are any abnormalities on the plate surface and the ears on both sides, If a problem is found, deal with it immediately.
(7) Add a deteriorator. The deteriorator should be added after online refining and before filtration. The addition temperature is between 715 and 730 °C. As time goes by, the deteriorator may produce a certain amount of precipitation before filtration, affecting the filtration and deterioration effect. Therefore, the filter box should be stirred appropriately at regular intervals to ensure the uniformity of the deteriorator composition; when the pressure head difference before and after the filter is too large, affecting the flow and quality, the filter tank should be replaced in time. In the process of capacitor foil manufacturing, good deterioration treatment can effectively improve the grain refinement effect of the strip and improve the consistency of the electrical properties of the final product.